126亿起拍!四川首家金融租赁公司10%股权遭司法拍卖!背后资本大佬吴昊疑陷困局→
2025-09-16 20:58:21
公司官网介绍,天府金租由四川天府银行发起,于2016年12月12日正式开业,注册地位于四川省成都市,是四川首家金融租赁公司。企查查信息显示,
PG引领电子科技e=jpg />
企查查显示, 万腾实业成立于2006年, 注册地位于四川省成都市, 注册资本 3.715亿元, 所属行业为房地产业。经营范围包含:项目投资;房地产开发;商品批发与零售;房屋租赁等。股权结构方面,大股东成都三腾投资控股有限公司持股53.8358%,前法定代表人吴昊持股46.0794%,现法定代表人周郁珩持股0.0848%。

记者注意到,万腾实业背后的吴昊,曾是四川资本界的重要人物。公开资料显示,吴昊出生于1973年,毕业于四川大学企业管理与经济法专业。从资本逻辑上看,吴昊以万腾实业发家,完成了资本积累。
据界面新闻报道,早在2016年,万腾实业就已形成金融、地产与能源三大核心产业,拥有控股、参股企业20余家,员工逾千人,公司资产规模逾300亿元。

另外,2016年,吴昊直接持有上市公司宝莫股份5.58%的股权,并通过表决权委托方式掌控了16.11%的表决权,合计持有21.69%的表决权,成为宝莫股份的实际控制人与控股股东。
2017年,吴昊直接及通过西藏泰颐丰共计持有宝莫股份21.38%的股权。
2010年上市的宝莫股份是一家精细化工及环保水处理公司,主要产品包括丙烯酰胺、聚丙烯酰胺、表面活性剂等。吴昊入主宝莫股份后,公司的业绩表现便迅速变脸。2017年,宝莫股份的营业收入为4.10亿元,同比下滑54.36%;归母净利润0.08亿元,同比下滑44.23%。且此后一直到2022年,宝莫股份的营业收入始终未回到2016年的水平。
在上市公司业绩不振的同时,吴昊自身的资金状况也出现了问题。2023年8月,宝莫股份发布公告称,吴昊持有的公司5.58%股份被司法冻结。并表示,吴昊正在与申请司法冻结的债权人进行积极沟通,争取早日妥善解决上述司法冻结事项。
在此背景下,吴昊开始筹划套现。2023年10月,宝莫股份便发布了控制权拟发生变更的公告。与7年前吴昊进场时相比,宝莫股份15.80%股权的价格由13.56亿元降至4.50亿元,缩水66.81%。这此次股份转让中,吴昊的浮亏达到了9.06亿元。
截至2024年1月8日收盘,宝莫股份15.8%的股权对应市值为6亿元,同是四川地产商人的罗小林、韩明夫妇以4.5亿元对价“抄底”了宝莫股份实控权。
同年3月24日,四川省成都市中级人民法院公布的两则被执行人信息显示,吴昊被执行总金额已高达14.459亿元。

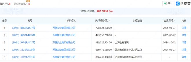
如今,万腾实PG引领电子科技业也面临严峻的困境。目前公司存在5条被执行人信息,被执行总金额已超过28亿元。


特别声明:以上内容(如有图片或视频亦包括在内)为自媒体平台“网易号”用户上传并发布,本平台仅提供信息存储服务。
什么比赛的冠军奖金比“石油杯”还高五倍?/
主站 商城 论坛 自运营 登录 注册 什么比赛的冠军奖金比“石油杯”还高五倍? 廉颇 2025-09-1...
《编码物候》展览开幕 北京时代美术馆以科学艺术解读数字与生物交织的宇宙节律
人民日报出版社终于给二宝发准生证啦!!!(明日新传考研热点专题笔记上线!!)
“打败几十万人,就换来这结果”,985学子求职,直言看清了线岁阿姨也能穿得亮眼高级,这些搭配的技巧请收好,特别实用